Biosmart : chaudière bois bûche : 14 & 22 kW




Gazéification = haut rendement.

Convient aux maisons individuelles moyennes et en appoint dans les bâtiments plus énergivores.







Biosmart : compacte & efficace

Avec 50 ans d'expérience dans la conception de chaudières bûche, GUNTAMATC a développé la Biosmart : la chaudière compacte et efficace.

Le foyer à double enveloppe renforcé accueille 100 litres de bûches de 30cm. Le brûleur réfractaire et son tunnel de gazéification tirent la meilleure énergie des gaz de fumée. La sonde lambda analyse et gère les paramètres de combustion.

Pratique et compacte : avec ses portes de chargement réversibles, le nettoyage des carneaux, un allumage automatique ainsi qu'une régulation pour piloter toute l'installation chauffage.

La Biosmart est neutre en CO2 et préserve le climat. Elle convient aux maisons individuelles moyennes ou basse énergie et peut servir d'appoint dans les bâtiments plus énergivores.

Foyer 100 litres

Pour bûches de 33 cm, ce foyer double enveloppe est renforcé par des plaques en fonte. Large porte réversible pour facilement charger les bûches.

allumage automatique

La Biosmart est chargée à froid : entre deux feux. Elle s'allumera plus tard : quand ce sera nécessaire : quand la réserve d'énergie ne sera plus assez chaude.

Brûleur réfractaire

Du foyer, les gaz de combustion entrent dans le brûleur réfractaire. Le tunnel de gazéification tire la meilleure énergie des gaz de fumée.




Lambda

Analyse de combustion et gestion de l'air avec volet d'air motorisé. Répartition de l'air selon la phase de combustion.

Echange et nettoyage

Grand échangeur pour maximaliser le transfert d'énergie. Nettoyage manuel mécanique de l'échangeur.

maintenance aisée

La porte inférieure donne accès à la grille foyère, la zone d'allumage et le cendrier. Maintenance aisée par l'avant et le dessus.

Efficace

L'utilisateur détermine son chauffage : horaire et t°, puis l'installation s'adapte. Une commande simplifiée est placée dans la maison.

Régulation complète

Gestion de l'installation : 1 circuit direct, 2 mélangés, ECS, ballon tampon, pompe recyclage avec v3v retour ainsi qu'une relève par une chaudière automatique.

Gestion à distance

Par internet, gestion de l'installation via ordinateur et/ou APP sur smartphone. Consultation des températures. Notification si défaut.




Fiabilité

Les composants électroniques et électriques sont communs à toutes les chaudières GUNTAMATIC. Ceci assure un très haut niveau de fiabilité.

Qualité

La chaudière est composée de matériaux nobles. La production, l'assemblage et la finition sont contrôlés et répondent à de très hautes exigences.

Longévité

Les moteurs et ventilateurs sont dimensionnés pour une durée de vie de plus de 20 ans : avec réserve de couple très élevée.







Quel type de bois ?

La Biosmart peut brûler toutes les essences de bois ! Du bois dur ou du bois tendre. Du feuillu ou du résineux. Il est toutefois important de retenir que le bois doit être suffisament sec : selon l'essence, prévoir 2 à 3 ans de séchage.

Quelle quantité prévoir ?

La question est simple, mais la réponse moins simple...
Selon son essence et son hygrométrie, le bois a un pouvoir calorifique variable déterminé par kilo : +/- 5 kWh/kg si bois anhydre, et 3,3 kWh/kg si bois a 25% d'humidité. MAIS, dans nos régions, à la production ou à la vente, on ne parle pas du bois en kilo, on compte le bois en sters.

LE ster

LE ster est une vieille unité d'encombrement, ou de volume = 1M3 de rondins d'1M de long. La quantité de bois dans un ster est variable en fonction du diamètre des rondins. Par exemple, si les rondins ont un diamètre de 23cm, le coéficiant d'empilage est de 65% de bois et 35% d'air . Si le diamètre des rondins varie, l'empilage de bois varie aussi... Pour rendre le tout encore plus compliqué, une fois ces rondins d'un mètre coupés en 33 ou 50cm de long, puis fendus, le volume du ster va encore diminuer.

Pour faire simple, on estime généralement que :

1 ster = 0,75M3 de fendus en longueur de 50cm = 0,66M3 de fendus en 33cm

1 ster de chêne = 480kg de bois = 1.580 kWh**
1 ster d'épicéa = 315kg de bois = 1.040 kWh**
** kWh si 25% d'humidité : sec 2 à 3 ans.



Par an : combien de sters ? Combien de feux ?

Selon le dossier énergétique d'un nouveau bâtiment, ou l'historique d'une maison existante, il est possible de déterminer la consommation annuelle : en kWh/an. Ainsi le nombre de sters, de feux et de charges de bois sont prévisibles.

* Attention : un feu "normal" dure 6 heures. Au delà de 280 feux/an, les jours de très, très grand froid, il est probable que 3 feux/jour soient nécessaires : ce qui est difficile à gérer. Alors, une chaudière d'appoint pourrait, dans ce cas, venir apporter le complément. Mieux encore : opter pour une chaudière bois plus puissante : la BMK !

Les sters de bois prennent de la place. D'autant plus qu'il est préférable de stocker 2 ans de combustible pour le laisser sécher. Quand le bois est stocké sur 2 mètres de haut : 3 sters s'empilent sur 1M2.



Préparer le feu

Une fois la combustion terminée : la Biosmart s'arrète. A partir de ce moment, et dans les heures qui suivent, la charge de bois pour le feu suivant peut être effectuée.

Face à l'orifice de l'allumeur, 2 morceaux de bois sont placés en V. Dans leur creux, un peu de pellets ou de copeaux serviront d'allumeur. Le foyer peut alors être complètement chargé de bûches.

Sur l'écran tactile, l'allumage est programmé : la chaudière s'allumera quand ce sera nécéssaire : quand la réserve d'eau ne sera plus assez chaude.






Ballon tampon : volume


Durant ses quelques heures de combustion, la Biosmart dégage de l'énergie. Selon les configurations et les saisons, elle produit un peu plus ou beaucoup plus d'énergie que la demande du bâtment.

Grâce à cela, le surplus d'énergie produit peut être tout d'abord stocké dans des ballons tampon. Ensuite, selon la demande du chauffage, l'énergie stockée sera envoyée dans les circuits.

Le volume tampon à prévoir est variable selon le type de bâtiment et le type de circuits à alimenter.

En résumé, le volume peut être ainsi envisagé :

Biosmart + plancher chauffant : 1500 lit tampon
Biosmart + radiateurs : 2000 lit tampon

Si pas d'allumage automatique : ajouter 500 litres.
Si ECS important : ajouter le volume ECS au volume tampon.



Biosmart chaudière à bois bûche


BIOSMART 14 22  
Puissance calorifique 14,0 21,6 kW
Classe d'efficacité énergétique A+ A+  
Rendement 90 90 %
Longueur bûche 330 330 mm
Volume du compartiment à bois 100 100 litre
Largeur de l'espace de chargement 370 370 mm
Profondeur du foyer de combustion 300 300 mm
Volume d'eau 100 100 litre
Pression de service max. 3 3 bar
Départ retour 5/4'' 5/4'' Ø pouce
Gestion du retour avec V3V V3V  
Si thermostatique t° retour > 55° > 55° °C
Débit min. pompe retour 1.000 1.900 lit / h
Serpentin décharge thermique 3/4'' 3/4'' Ø pouce
Besoin de tirage de cheminée 0,10 0,15 mbar
Tube de fumée 130 130 Ø mm
Ventillation chaufferie min. 400 400 cm²
Largeur de passage pour mise en place 65 65 cm
Largeur de passage sans jaquette 60 60 cm
Hauteur local min. 160 160 cm
Poids de transport env. 400 410 kg
Raccordement électrique 230 / 13 230 / 13 V / A

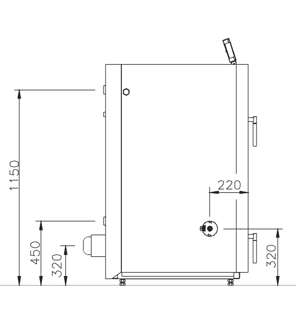
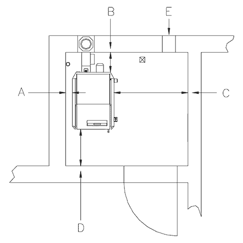
Biosmart cm





A : distance à gauche : 60 cm
Mini si allumage : 40 cm
Mini sans allumage : 10 cm
Si mini, alors 60 cm à droite

B : distance à l’arrière : 60 cm
Mini : 35 cm

C : distance à droite : 60 cm
Mini : 30 cm
Si mini, alors 60 cm à gauche

D : distance à l’avant : 85 cm
Mini : 55 cm

E : ventilation : min 400 cm²

Téléchargements